Sample Blue Ion 2.0 Single Line Drawing DC Coupled

Sample Blue Ion 2.0 Single Line Drawing DC Coupled

       




    • Related Articles

    • 3-LINE DIAGRAM: 4 INVERTERS, 4 CHARGE CONTROLLERS, OFF-GRID

      Please refer to the attachments for sample 3-line diagrams and wiring layers for installing multiple inverters and/or Blue Ion 2.0 cabinets.
    • Single Line Drawing: DC Coupled Multiple Inverter and Blue Ion Enclosures

           Please find the attached drawing for a sample DC Coupled system with multiple inverters and Blue Ion 2.0 enclosures.
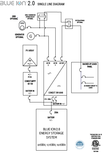
    • Blue Ion 2.0 System Integration

           There are multiple possible electrical integration configurations to install with the Blue Ion 2.0, the configuration used will be determined by the system design. The following schematic describes the equipment included with the Blue Ion 2.0 ...
    • Battery Combiner Options for Multiple Blue Ion Systems

              ​ Combiners When using more than one Blue Ion battery cabinet from Blue Planet Energy you may want to use a third party battery combiner to share the power and energy supply between all inverters and solar charge controllers associated with ...
    • Blue Ion LX Installation Manual

      Thank you for selecting the Blue Ion LX energy storage system designed and field-tested in the U.S.A. by Blue Planet Energy Blue Ion LX is a best-in-class, high-voltage energy storage system that provides unparalleled safety, reliability, and ...